哈啰关联公司申请多条“哈啰酒店”商标
2020-12-14
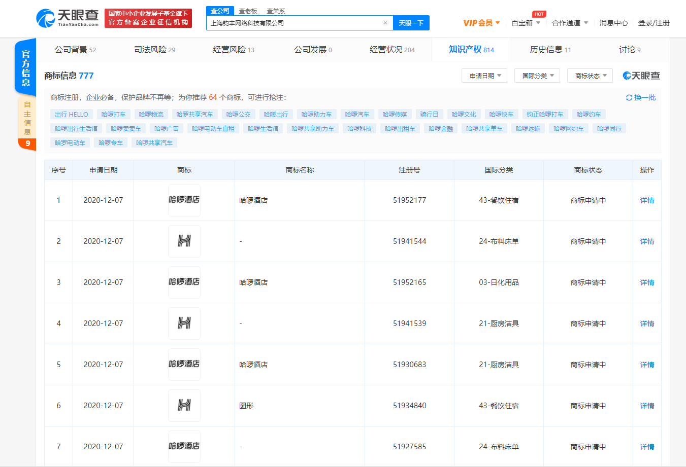
天眼查信息显示,近日,哈啰关联公司上海钧丰网络科技有限公司新增多条商标信息,商标名称为“哈啰酒店”,涉及的国际分类为餐饮住宿、日化用品、厨房洁具等。目前,商标状态均为“商标申请中”。

公开资料显示,上海钧丰网络科技有限公司法定代表人为彭照坤,注册资本为300000万元人民币,由江苏哈啰普惠科技有限公司100%持股。该公司经营范围包括:从事网络科技、信息科技、计算机科技、物联网科技、公共自行车系统及其配件技术领域内的技术开发、技术咨询、技术转让、技术服务,机械设备、自行车、电动自行车的租赁,货物进出口,技术进出口,电子产品、日用百货、自行车、电动自行车、智能交通工具及其配件的销售等。
热门分类
暂无数据
联系我们
·
服务热线:15208208307
·
企业QQ:43501963
·
E-mail:43501963@qq.com
·
地址:四川省成都市武侯区天府三街天和凯旋广场3栋19楼1901
服务项目
关注公众号了解更多资讯